顺钠股份逼近跌停基金收益,金利华电、泽宇智能、派诺科技、亿能电力、积成电子等多股跌超5%。
举报 第一财经广告合作,请点击这里此内容为第一财经原创,著作权归第一财经所有。未经第一财经书面授权,不得以任何方式加以使用,包括转载、摘编、复制或建立镜像。第一财经保留追究侵权者法律责任的权利。如需获得授权请联系第一财经版权部:banquan@yicai.com 相关阅读

中金岭南今日跌停,有2家机构专用席位净卖出1亿元
中金岭南今日跌停,有2家机构专用席位净卖出1亿元
元股证券 02-02 16:59

锡业股份今日跌停 四机构合计卖出4.73亿元
锡业股份今日跌停 四机构合计卖出4.73亿元

02-02 16:41

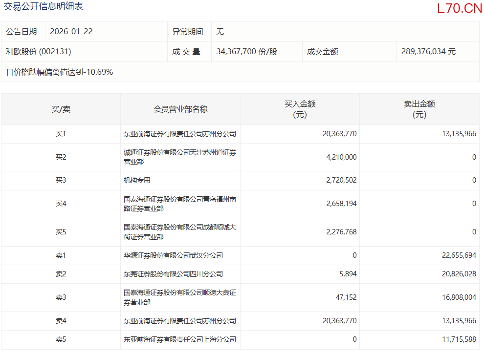
利欧股份今日跌停,1家机构专用席位净买入272.05万元
利欧股份今日跌停,1家机构专用席位净买入272.05万元
01-22 16:40

17家上市公司股票遭重要股东减持 晋控电力减持金额最高
17家上市公司股票遭重要股东减持 晋控电力减持金额最高
2025-07-24 22:17

华银电力今日跌停 陈小群席位净买入5631.9万元基金收益
华银电力今日跌停 陈小群席位净买入5631.9万元
元股证券:ygzq.hk 16 2025-07-15 16:49 一财最热 点击关闭
泓川证券开户|多端同步随时掌握提示:本文来自互联网,不代表本网站观点。